Stalowy kocioł grzewczy (górnego spalania) serii SE MAX II. Znajduje zastosowanie w domach jednorodzinnych w otwartych systemach wodnych centralnego ogrzewania z obiegiem grawitacyjnym jak i wymuszonym, stosowany jest również w gospodarstwach wiejskich oraz punktach handlowych.
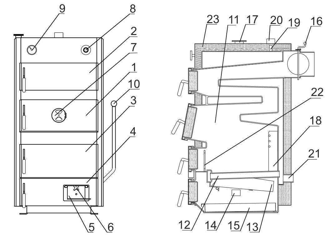
Podstawowym paliwem jest węgiel kamienny lub drewno. Korpus wodny kotła wykonany został z 6 mm stali kotłowej i ma kształt prostopadłościanu, tak jak reszta elementów które mają kontakt ze spalinami. Reszta elementów wykonana jest ze stali o grubości 4 mm.
Regulacja temperatury odbywa się przy pomocy mechanicznego pokrętła znajdującego się na uchylnej klapie popielnika. Istnieje możliwość regulowania temperaturą przy pomocy miarkownika lub nadmuchu (za dopłatą), podnosi to komfort użytkowania. Kocioł posiada ruszt wodny, który znacząco powiększa powierzchnię wymiany ciepła jak również ruszt ruchomy do sprawnego usuwania popiołu z komory spalania oraz wtórne napowietrzenie komory górnego spalania.
Poziomo ustawione kanały spalinowe, wydłużają drogę spalin oraz powodują wydłużenie drogi wymiany ciepła. Kocioł posiada dużą komorę załadunkową co znacznie wydłuża czas pracy na jednym załadunku.




| Moc [ kW ] | 35 |
| Moc [ kW ] | 20 |
| Moc [ kW ] | 30 |
| Moc [ kW ] | 25 |
| Masa [ kg ] | 395 |
| Masa [ kg ] | 330 |
| Masa [ kg ] | 370 |
| Masa [ kg ] | 350 |
| Szerokość [ mm ] | 630 |
| Szerokość [ mm ] | 510 |
| Szerokość [ mm ] | 580 |
| Szerokość [ mm ] | 530 |
| Rozmiar drzwi zasypowych [ mm x mm ] | 388 × 238 |
| Rozmiar drzwi zasypowych [ mm x mm ] | 338 × 238 |
| Rozmiar drzwi zasypowych [ mm x mm ] | 438 × 238 |
| Rozmiar drzwi zasypowych [ mm x mm ] | 318 × 238 |
| Pojemność wodna [ L ] | 93 |
| Pojemność wodna [ L ] | 87 |
| Pojemność wodna [ L ] | 111 |
| Pojemność wodna [ L ] | 71 |
| Min ciąg kominowy [ Pa ] | 23 |
| Min ciąg kominowy [ Pa ] | 23 |
| Min ciąg kominowy [ Pa ] | 25 |
| Min ciąg kominowy [ Pa ] | 23 |
| Sprawność [ % ] | 81 |
| Klasa | 3 |
| Wysokość [ mm ] | 1 256 |
| Głębokość [ mm ] | 804 |
| Wymiary czopucha [ mm ] | 180 |
| Max. Temperatura pracy [ °C ] | 95 |
| Max. Ciśnienie robocze [ bar ] | 1,500 |
| Paliwo | drewno, węgiel kamienny |
| Gwarancja | 5 lat na szczelność wymiennika ciepła |
ℹ️ Wyświetlane opinie są moderowane. Nie weryfikujemy, czy pochodzą od klientów, którzy kupili dany produkt.





























